Produktkategorien
Neue Produkte
SRAM hat im Oktober 2022 ein neues Patent eingereicht, das ein neues elektronisches hinteres Zifferblatt beschreibt, das sich während des Gebrauchs selbst aufladen kann, ohne dass ein austauschbarer Akku benötigt wird. Das Dokument beschreibt die Verwendung eines Generators, der mit dem Hinterrad-Getriebe gekoppelt ist und durch die Drehung des Hinterrad-Hochstellrads während des Tretens aktiviert werden kann, um die Batterie kontinuierlich zu laden.
On-Board-Energy-Harvesting-Systeme werden sicherlich die Ausfälle abnehmbarer Batterien reduzieren, und es könnte in Zukunft eine neue Option für Ultra-Langstrecken-Langstreckenrennfahrer werden, sodass sie keine Backup-Batterien mitführen müssen. Es ist jedoch denkbar, dass der beschriebene Mechanismus zu einer Erhöhung des Widerstands des Antriebsstrangs führen würde, wodurch etwas kinetische Energie verloren geht, was sich letztendlich auf die Leistung auswirken würde, da sie von der Drehung des oberen Führungsrads während des Trampling-Vorgangs und erfasst wird dann in elektrische Energie umgewandelt.
Montageteil (hellgrau), Kupplung und Schaltmotor (gelb und grün), Generator (dunkelblau), Generatorgetriebe (hellblau), AXS-Kopplungstaste (rot) und LED-Anzeige (kleiner grüner Punkt)
SRAMs selbstladendes hinteres Schaltkettenkonzept
Das Patent (US 20220355900 A1) beschreibt ein hinteres Zifferblatt, das ein Energiegewinnungssystem enthält. In den vorangegangenen Abschnitten wurde einer der Nachteile aktueller elektronischer Kettendipper erwähnt: die Unbequemlichkeit des Aufladens der Batterie und das inhärente Risiko, dass bei langen Fahrten der Saft ausgeht. Diejenigen, die das Glück haben, einen elektronischen Antriebsstrang zu besitzen, wissen das nur zu gut; Vielleicht nicht, weil ihnen während der Fahrt der Strom ausgegangen ist, sondern eher, weil sie vergessen haben, den Akku vor der nächsten Fahrt aufzuladen.
Das neue Gerät beseitigt dieses Problem, sodass sich sein Besitzer nicht mehr um das Laden des Akkus oder um die Leistung kümmern muss.

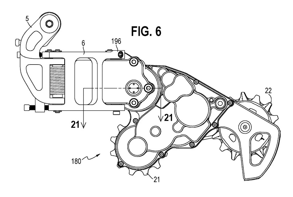
Der Primärmechanismus ist erforderlich, um das obere Zahnrad des rotierenden Käfigs (bis 35 in Abbildung 30) zu koppeln, um das Ritzel anzutreiben, um den Generator zu aktivieren. In dem Mechanismus beschreibt das Patent die Verwendung von Stirnrädern (339), Ritzeln (338), Riemen und inneren Riemenrädern (41), um die Generatorbasis (46) zu aktivieren, wobei angegeben wird, dass das optimal ausgewählte Übersetzungsverhältnis 33,75 beträgt: 1. Somit dreht sich das Ritzel im Generatorsystem bei jeder Umdrehung des Käfigrads 33,75 Mal. Das bedeutet, dass der Generator bei hohen Drehzahlen am effizientesten ist.
In diesem Fall gibt der Tritt des Fahrers auf die Kurbel tatsächlich eine sehr kleine Kraft ein, um den Generator zu drehen. Es ist also davon auszugehen, dass Sie durch das Laden des Akkus im Hinterradgetriebe während des Tretens nur wenig Ihrer wertvollen Energie an das Generatorsystem verlieren. Das heißt, wir stellen uns viel weniger Verluste vor als bei einem größeren Radsatz von Blumentrommelgeneratoren.

Das Patent beschreibt auch die Verwendung einer Kupplung (290) innerhalb des Generatorsystems, die verhindert, dass die Zahnräder durchdrehen, wenn der Fahrer rückwärts fährt. Offensichtlich ist es nicht so üblich. Aber bei einigen Mountainbikes mit voller Stoßdämpfung wird es aufgrund des Kettenwachstums, das durch das Pedalrückstoßereignis verursacht wird, gelegentlich in unterschiedlichem Maße vorkommen.
Das 22-seitige Patent beschreibt die Verwendung von Transistoren, Widerständen und Kondensatoren. Zum Teil ist der Generator eine Möglichkeit, die Batterie im Heckschaltgetriebe aufzuladen, damit ihr während der Fahrt theoretisch nie der Saft ausgeht. Dies könnte ein Game-Changer für Ultra-Langstrecken-Langstreckenrennfahrer sein, die nicht riskieren können, dass ihnen bei einem Langstrecken-Langstreckenrennen die Energie ausgeht, weil sie befürchten müssen, schneller laufen zu müssen, bevor sie den nächsten Tankpunkt erreichen.
Abbildung 28 der SRAM-Patentanmeldung zeigt auch einen neuen variablen Geschwindigkeitsmechanismus. Beim aktuellen SRAM AXS-Schalthebel sind der Getriebemotor und die Batterie am hinteren B-Abschnitt des Schalthebels montiert, zwischen dem hinteren Drehpunkt des Parallelogrammgestänges, das die Schaltung reguliert. Hier ist bei dem neuen Konzept des elektronischen selbstaufladenden Hinterschaltgetriebes der Motor des Hinterschaltgetriebes auf der Käfiganordnung montiert, die wiederum das Ritzel, das Stirnrad, die Schraube (81), die Mutter (91) und schließlich antreibt Antriebsstift (97), um die äußere Verbindungsstange (6) des Parallelogramms zu drehen, um die Verschiebung durchzuführen. Zu unserem Schock befinden sich viele der wichtigen (und möglicherweise teuren) Komponenten im anfälligeren Teil des Kettenschalthebels: der Führungsplatte. Dennoch heißt es in dem Patentdokument: „ Das Motor- und/oder Generatorsystem kann auf der Führungsplatte montiert und mit dieser bewegt werden. Im Schadensfall kann das Leitblech als Ganzes inklusive Motor-Generator-System schnell und einfach ausgetauscht werden, ohne dass andere Teile des Getriebes ausgetauscht werden müssen.“
Im kleinen Zahnverhältnis/großen Zahnverhältnis ragt der größere Mechanismus in der Führungsplatte ziemlich weit heraus, wo die Aufhängungsschrauben des hinteren Zifferblatts Ihren Rahmen berühren (unter 15). Wenn Sie jedoch zu einem einfacheren Gang / einer größeren Zahnübersetzung wechseln, scheint das hintere Zifferblattgetriebe unter der hinteren unteren Gabel in der Nähe des Radsatzes verborgen zu sein.

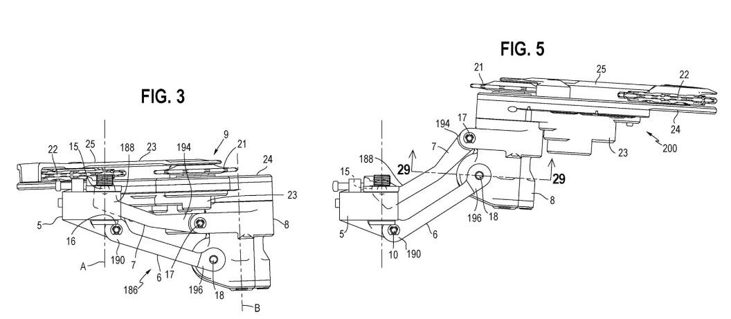
Bild 3 zeigt, dass das Hinterradschaltgetriebe an den kleineren Zähnen für die Wartung der Kardenschwungscheibe positioniert ist, während Bild 5 zeigt, dass es an den größeren Zähnen positioniert ist, was eine absolut unparallele Bewegungsart ist, aber besser auf die Fahrradkette ausgerichtet ist Winkel
Schließlich wird eine automatische Schaltfunktion eingeführt. Die Dioden und Widerstände im Generatorsystem werden verwendet, um die Geschwindigkeit des Generators zu erfassen, die dann verwendet werden kann, um die Geschwindigkeit der Kette durch das Regelrad zu bestimmen, wodurch die Geschwindigkeit der Kette bestimmt wird. Diese Informationen können zusammen mit Informationen von anderen Sensoren am Fahrrad, z. B. an den Kurbeln und Hinterrädern, verwendet werden, um automatische Schaltalgorithmen auszuführen, die das Übersetzungsverhältnis auf einem für den Fahrer günstigen Verhältnis halten.